Toyota Yaris: Instrument cluster overview
With tachometer

Instrument cluster overview
1. Service reminder indicators and indicator lights
2. Tachometer
3. Speedometer
4. Clock
5. Clock reset knob
6. Odometer and two trip meters
7. Fuel gauge
8. Trip meter reset knob
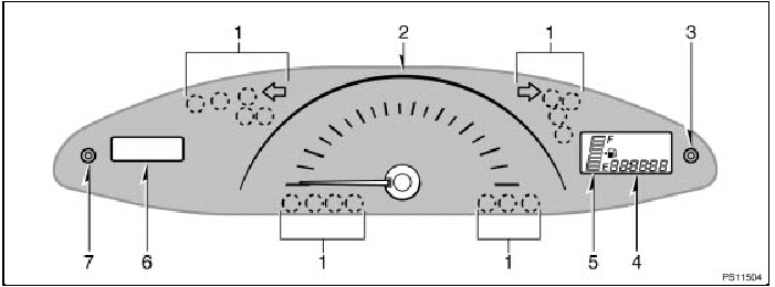
Without tachometer

Instrument cluster overview
1. Service reminder indicators and indicator lights
2. Speedometer
3. Trip meter reset knob
4. Odometer and two trip meters
5. Fuel gauge
6. Clock
7. Clock reset knob
Instrument panel overview
Instrument panel overview
1. Window lock switch
2. Cup holders
3. Side vents
4. Engine immobilizer/theft deterrent system indicator light
5. Auxiliary boxes
6. Instrument cluster
7. Ce ...
Indicator symbols on the instrument panel
Brake system warning light*1
Driver’s seat belt reminder light*1
Front passenger’s seat belt reminder light*1
Charging system warning light*1
...
See also:
Front body pillar (CUT): Hatchback
REPLACEMENT
With the cowl top side upper panel removed.
REMOVAL
INSTALLATION
Temporarily install the new parts and measure each part of the new parts in accordance
with the body dimension ...
Service specifications
ENGINE
Valve clearance (engine cold), mm (in.): Intake 0.15—0.25 (0.006—0.010).
Exhaust 0.25—0.35 (0.010—0.014).
Spark plug type: DENSO SK16R11.
NGK IFR5A11.
Spark plug gap, mm(in.):
...
If you lose your keys
You can purchase a new key at your Toyota dealer if you can give them the
key number. If your vehicle is equipped with the engine immobilizer system, the
dealer will also need your master key.
...